News
Porsche patent’s Koenigsegg-style manual shifter for auto transmission
Porsche is aware that its customers love the manual transmission. However, the advanced PDK does a much better job than a human being. So, how do you create a transmission that offers the best of both worlds – a slick dual-clutch automatic with an engaging driving experience of a manual?
Actually, Swedish hypercar maker Koenigsegg has already thought about this. The company introduced a 9-speed automatic transmission on the CC850, which comes with a 6-speed gated shifter.

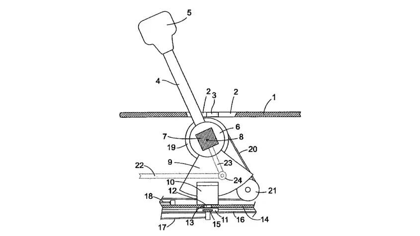
In a bid to replicate the same functionality, Porsche has filed a patent described as a “gear selector device for selecting gears of a motor vehicle transmission”. Instead of a mechanical linkage, it uses shift-by-wire.
Even though the manual transmission is going out of fashion, it’s popular among enthusiasts. Porsche is among the few automakers that offer a manual option in their sports cars. Currently, the Carrera T, Boxster and Cayman models are available with a manual transmission option.
Source: Autoexpress

